Система запалювання відіграє важливу роль для ДВЗ. Від безперебійної роботи СЗ залежить своєчасність і потужність утворення іскри і якісне згоряння паливно-горючої суміші. Як правильно налаштувати порядок запалювання ГАЗ-53, як влаштована сама система, які у неї основні несправності – йдеться в даній статті.
Зміст
- 1 Пристрій системи запалювання ГАЗ-53
- 1.1 Фотогалерея
- 2 Можливі несправності СЗ: ознаки і причини
- 3 Інструкція з налаштування запалювання
- 4 Висновок
- 5 Відео «Налаштування запалювання по лампочці»
- * Коментарі та Відгуки

Пристрій системи запалювання ГАЗ-53
Для того, щоб ремонтувати і налаштовувати СЗ на ГАЗ-53, необхідно знати, як вона влаштована.

На даних вантажівках встановлена безконтактна СЗ, яка складається з наступних компонент:
- джерело живлення – АКБ;
- комутатор;
- дроту;
- додаткове реле;
- котушка;
- переривач-розподільник;
- покажчик струму;
- резисторний елемент;
- замок запалювання (вимикач).
Знаючи пристрій СЗ, схему підключення ЗЗ та інших її компонентів, а також функції, які виконує кожен елемент, можна за ознаками визначити проблеми та усунути їх причину. Всі компоненти СЗ можна розподілити на групи за виконуваним завданням.
Для нормальної роботи ДВЗ необхідно виконання наступних умов:
- потужна іскра;
- відповідність між утворенням іскри і роботою силового агрегату;
- відсутність пропусків утворення іскри.
Вся система електронного запалювання являє собою два ланцюги: первинну і вторинну.
В первинну входять такі елементи:
- АКБ з багатожильними кабелями великого перерізу;
- вимикач, що подає живлення в ланцюг;
- первинна обмотка;
- переривач розподільник, що знаходиться в трамблері;
- коммутаторное пристрій, що забезпечує стабільність роботи;
- опір необхідне для успішного запуску двигуна і розвантаження КЗ, що виключає її перегрів.
Вторинна ланцюг включає в себе:
- розподільник;
- дроти для подачі високовольтного струму;
- свічки.
Коли первинна ланцюг отримує харчування, в переривнику виникає магнітне поле. Обертання трамблера переривають струм в цьому місці, що призводить до зникнення магнітного поля. У цей момент на вторинній обмотці виникає сигнал, який переходить на циліндри.
Фотогалерея
2. Схема безконтактной СЗ ГАЗ-53 з комутатором
Успішне іскроутворення забезпечується стабільною роботою мотора і появою достатньої напруги на електродах. На потужність іскри впливають розміри зазорів між електродами і величина напруги надходить.
При слабкій іскрі або її відсутності збільшується витрата палива, знижується потужність двигуна.
Можливі несправності СЗ: ознаки і причини
Несправності в СЗ відображаються на потужності силового агрегату, вона знижується, і економному витрачанні пального.
Можна назвати такі причини нестабільної роботи СЗ на ГАЗ-53:
Якщо на вакуумному регуляторі трамблера діафрагма робить пропуски, то спостерігається падіння потужності двигуна. При цьому якщо різко газувати, то силовий агрегат буде захлинається і може перегрітися. Трамблер виходить з ладу рідко, найчастіше причиною поломки є знос внаслідок виробленого ресурсу.
Інструкція з налаштування запалювання
Причиною перегріву мотора і падіння його потужності може бути пізнє запалювання. Це може проявлятися ударами у впускному колекторі. Тому потрібно знати, як правильно встановити запалювання (автор відео — Наїль Порошин).
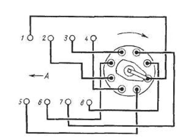
Установка виконується по мітках наступним чином:

Виставляти момент запалювання ГАЗ-53 потрібно точно, так як при відхиленнях падає потужність мотора і підвищується витрата палива. Крім того, можливо прогоряння клапанів, поршнів, пробої в прокладці ГБЦ і інші проблеми, пов’язані з детонацією.
Тому остаточна регулювання виконується на працюючому двигуні, який прогрівається до температури ОЖ в межах 80 — 90 градусів. При працюючому на холостих обертах двигуні потрібно гайковим ключем на «10» послабити кріплення трамблера, щоб його можна було провернути. Злегка провернувши трамблер проти ходу годинникової стрілки, затягуємо болт кріплення.
Натискаючи на газ, як працює силовий агрегат. Якщо чути «дзвін пальців», тобто виникає детонація, проворачиваем трамблер за годинниковою стрілкою в зворотному напрямку. Шляхом проб і помилок встановлюємо потрібний кут випередження.
Перевірка робиться на рухомому транспортному засобі. При стабільній роботі силового агрегату налаштування більше не потрібна.
Деколи трамблер відсунутий в крайнє положення, а регулювання не вистачило. В цьому випадку потрібно проконтролювати стан приводу трамблера щодо двигуна.
Виконується перевірка на непрацюючому двигуні:
Висновок
Слід виконувати налаштування запалювання до тих пір, поки при значному навантаженні на силовий агрегат двигуна буде з’являтися лише невелика детонація. Якщо виставлено раннє запалювання, це загрожує пробоєм прокладки ГБЦ і прогоранием клапанів і поршнів. Якщо іскра проскакує пізніше, то збільшується витрата пального, і можливий перегрів мотора. Точна установка виконується з допомогою стробоскопа.
