Щури воліють селитися в житлових приміщеннях, підвалах, на горищах і на прибудинкових територіях. Вони завдають відчутної шкоди продовольчим запасам, є джерелом ряду захворювань, небезпечних для людини. При перших ознаках появи гризунів необхідно миттєво приймати заходи по їх вигнання. Іноді впоратися з ними можна, використовуючи саморобні пастки, що володіють простою конструкцією і високою ефективністю.
Зміст
- 1 Чому необхідно боротися з щурами
- 2 Варіанти крысоловок з пластикових пляшок
- 3 Пастка з відра і жерстяної бочки
- 4 Пастка з сітки
- 5 Електрична пастка
- 6 Пастка з труби
- 7 Зашморг з ниткою
- 8 Пастка з банки або квіткового горщика
- 9 Пастка-конус
- 10 Відміну крысоловки від мишоловки
- 11 Що вибрати в якості приманки
- 12 Де встановити пастку
- 13 Як зловити щура іншими способами
- 14 Заходи безпеки
Чому необхідно боротися з щурами
У більшості випадків щури з’являються поруч з людським житлом немов з нізвідки, в пошуках джерел живлення і надійних укриттів. Як і інші види гризунів, вони ведуть переважно нічний спосіб життя, безцеремонно господарюючи на кухнях, у коморах та в різних приміщеннях, де є чим поживитися.

Щури з’являються в будинку раптово
Будучи вельми плідними створіннями, гризуни швидко створюють цілі колонії, здатні завдати величезної шкоди домашньому господарству. Вони нерідко є переносниками небезпечних захворювань, якими можна заразитися, випадково вступивши в контакт з поверхнями, за якими пересувалися звірята, залишаючи за собою кал, слину або сечу.

Щури швидко плодяться і можуть жити великими колоніями
Завдяки анатомічним особливостям, пацюки здатні проникнути куди завгодно, просочуючись у кожну щілину. Володіючи міцними різцями, що ростуть протягом усього життя, вони можуть прогризати отвори навіть в цементі, цеглі та свинці, з-за чого захиститися від них дуже складно. Щур вміє чудово маскуватися, саме з цієї причини виявити її можна не завжди.

Щурячі різці ростуть протягом усього життя тварини
Величезну небезпеку для людини представляє укус щури. Загнане в кут тварина може кинутися в самий несподіваний момент, атакуючи руки або обличчя. Однак були зафіксовані випадки, коли щур нападала на людину і з причини голоду.

Укуси щурів дуже небезпечні
Якщо у вас завелися щури, не варто чекати моменту, коли вони покинуть будинок самостійно. Швидше за все, з їх доброї волі цього не станеться. Відловити небажаних квартирантів можна, використовуючи різні саморобні пастки. З їх виготовленням з підручних матеріалів впорається будь.
Варіанти крысоловок з пластикових пляшок
Існують різноманітні варіанти пасток, але всі вони діляться на дві групи:
- залишають щура живою;
- умерщвляющие жертву.
Вертикальна пастка
Найпростішою саморобної крысоловкой є пристрій із звичайної пластикової пляшки.

Таку вертикальну пастку для щурів можна використовувати в будь-якому житловому приміщенні
Принцип дії такої пастки полягає в наступному: щур, відчувши аромат приманки, намагається проникнути всередину пластикової пляшки; як тільки їй це вдається, пастка втрачає рівновагу і повисає в повітрі на прикріпленій до неї волосіні або мотузці. Потрапив у пастку гризун не може самостійно вибратися назовні. Однак подібний пристрій ефективно лише для вилову щурів невеликого розміру. Велика особина запросто вибереться з пастки і спокійно піде геть.

Вертикальна пастка — простий і дієвий спосіб лову невеликих щурів
Горизонтальна пастка
З пластикової пляшки можна зробити і іншу крысоловку.

Горизонтальна пастка з пластикової пляшки вельми ефективна при лові щурів

Така проста пастка дозволить зловити не одну щура
Як тільки гризун полізе до приманки, зафіксованої пляшки з боків, він звалиться з пластикової ємності у відро чи бочку, з якою не зможе вибратися назовні.
Пастка із пляшки «ловча яма»
Існує ще один варіант пастки з пластикової пляшки.
Як тільки щур спробує дістатися до приманки, вона провалиться в пластикову ємність і не зможе швидко вибратися з неї. Замість пластикової пляшки, можна використовувати відро.

З допомогою «ловчої ями» можна вбити щура або мишу, надавши їй можливість потонути
Пастка з пластикової пляшки «гострі пелюстки»
Принцип дії: щур, бажаючи дістатися до ласощів, пролізе в пляшку через пластикові пелюстки, але не зможе вибратися назад, з-за гострих пластикових частин, що стирчать всередині самої ємності.

Гострі пелюстки не дозволять щура вибратися з пляшки
Пастка з відра і жерстяної бочки
Можна зловити щура ще більш простим способом.

Існує хороший варіант пастки для пацюків — відро з соляним розчином
Ще один варіант пастки, використовуваний взимку.
Пастка з відра — відео
Пастка із сітки
В домашніх умовах можна виготовити і багаторазову пастку. В цьому випадку вам знадобиться:
- дрібнопористі металева сітка;
- дріт;
- два магніти;
- кусачки.
Інструкція:

З металевої сітки і дроту нескладно зробити багаторазову пастку для щурів
Пастка із сітки — відео
Електрична пастка
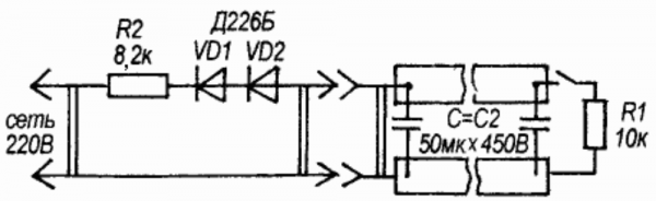
Для виготовлення такого виробу необхідні знання та навички роботи з елементами електричних схем.

1 — пластина (односторонньо фольгований гетинакс s1, 2 шт); 2 — електролітичний конденсатор (2 шт), 3 — розрядний резистор R1, 4 — розетка, 5 — штепсельна вилка підключення навантаження, 6 — випрямні діоди, 7 – зарядний резистор R2, 8 — мережева штепсельна виделка з проводом

Принципова електрична схема электроловушки для щурів
Пастка з труби
Часто щури селяться на прибудинковій території. Великі особини цілком здатні потягти молодих курчат з курника, завдати чимало шкоди підсобного господарства. Для вилову щурів, що мешкають на вулиці, може знадобитися проста, але дуже ефективна пастка з труби. Для її виготовлення знадобиться:
- відрізок металевої або пластикової труби діаметром 12-14 см і довжиною близько 50 см;
- невеликий шматок листового алюмінію;
- дриль;
- лінійка;
- пасатижі;
- дріт.

Для виготовлення пастки для пацюків знадобиться шматок труби і прості інструменти — пасатижі, дриль, лінійка
Порядок роботи:

У відповідності зі схемою пастки треба виконати на кожному кінці труби по 2 отвори

Вентиляційні отвори не дозволять тварині задихнутися в замкнутому просторі

Варіанти кріплення дверцят різні — на дріт або простий цвях
Принцип дії пастки полягає в тому, що звір може з легкістю проникнути в трубу, але не може покинути її, завдяки особливому пристрою дверей.
Увага! Використовуючи таку пастку, будьте вкрай обережні при витяганні з неї щури, яка може вкусити вас у момент відкриття дверцят. В якості захисту рук можна використовувати грубі господарські шкіряні рукавички.
Пастка з оцинкованої труби — відео
Зашморг з ниткою
Для вилову щурів можна скористатися ще одним пристроєм, що дозволяє не тільки зловити тварину, але і убити його.
Щур, почувши принаду, залазить у велике отвір, що знаходиться в дерев’яному бруску. Нитка, натягнута зверху вниз, перегороджують їй шлях до ласощів і щур її перегризає. У цей момент звільнилася пружина миттєво піднімає металеву петлю вгору, душили звірка.

За допомогою такої пастки ви зможете зловити щура і вбити її, але для лову гризунів слід використовувати інші розміри
Принцип роботи ловушк-зашморгу — відео
Пастка з банки або квіткового горщика
Простотою і доступністю відрізняється пастка для щурів, яку можна виготовити із звичайної банки.
Щур, відчувши ласощі, спробує забратися під банку. Як тільки вона почне знімати приманку з гострого кінця «сторожка», він втратить рівновагу й банку накриє звіра згори.

Простий варіант пастки для пацюків можна смастерть з квіткового горщика або банки
Пастка-конус
Зловити кілька щурів можна, використовуючи пастку-конус, що нагадує за зовнішнім виглядом класичну раколовку. Такий пристрій являє собою клітку з конічним входом, додатково обладнану ще одним конусом, розміщеним на рівні основного входу. Таку конструкцію можна виготовити з жерсті, так як головною вимогою в цьому разі є наявність абсолютно гладкого дна.

Пастка-конус — це дуже корисне пристосування для лову щурів
Відмінність крысоловки від мишоловки
Головною відмінністю крысоловки від мишоловки є її розмір, розрахований на велику тварину, ніж миша. Іноді щури можуть бути дуже великими, що досягають у довжину близько 40 см, і це слід враховувати при виборі відповідного пристрою для їх вилову. Такий звір не зможе забратися в невелику дволітрову пляшку і запросто вистрибне з порожнього відра.

Щур значно більше, ніж миша
Що вибрати в якості приманки
В якості приманок для щурів краще всього використовувати харчові продукти, здатні залучити гризунів апетитними пахощами:
- сир;
- ковбаси;
- каші;
- сир;
- круп’яні суміші;
- продукти копчення;
- хліб та інша випічка.
Де встановити пастку
Для досягнення бажаного результату при лові щурів необхідно встановлювати пастки в правильних місцях. Зазвичай їх розташовують неподалік від приблизного місця проживання гризунів.
Як зловити щура іншими способами
Якщо у вас завелися щури, але ви не бажаєте витрачати час на виготовлення саморобних пасток, можна скористатися покупними аналогами, багатий асортимент яких представлений на вітринах магазинів. Серед найбільш популярних виробів, призначених для цих цілей, існують клейові пастки:
- «Капкан Клей»;

Клейову майданчик необхідно встановити в місцях проживання щурів
- «Перешкода Будиночок».

Клейова пастка вельми ефективна при боротьбі з щурами
Крім клейових пасток, ефективний і спеціальний клей, який можна придбати в звичайних тюбиках і самостійно нанести на обрану поверхню. Зазвичай в якості підкладки використовується плоский матеріал, розміром 25х50 см, надійно прикріплений до підлоги. В іншому випадку щур, що потрапила в клей, перепачкает їм все приміщення, тягаючи підставу за собою.

Клейова пастка ефективна, але не гуманна
Мінусом клейових пасток є досить негуманне ставлення до тварин, яких ви прирікаєте на довгу і болісну смерть. Приклеїлися щури іноді починають голосно кричати, що створює додатковий дискомфорт для мешканців будинку, при цьому звільнити гризуна ви вже не зможете. Часто бранцями таких пасток стають цікаві домашні вихованці. Популярні такі кошти:
- клей від гризунів Alt;
- RaTrap;
- Котофей;
- EuroGuard;
- Чистий Будинок;
- Форссайт;
- Капкан.
Для лову щурів в домашніх умовах також широко використовується:
- електрична пастка «Рат Кіллер»;
- контейнер «ЄВ 703F»;
- пастка «Клітина»;
- крысоловка «СуперКэт».

Очистити домашнього вихованця від клею дуже складно
Клеї для вилову щурів — галерея

Надійний клей для вилову щурів — засіб Alt

RaTrap — чудово зарекомендувало себе клейка речовина для вилову щурів

Клей «Котофей» випускається на території Росії

Засіб EuroGuard виготовляється в Італії

Клей «Чистий дім» відрізняється прийнятною вартістю і ефективний у боротьбі з гризунами

Клей «Форссайт» — якісна продукція для знищення гризунів

«Капкан» дозволить зловити щура без особливих зусиль
Заходи безпеки

Будівельні рукавички зможуть захистити вас від укусу пацюка
Для ефективної боротьби з щурами рекомендується підтримувати чистоту в приміщеннях і обмежити доступ гризунів до джерел харчування та воді.
Використовуючи матеріал, представлений у статті, ви зможете виготовити прості і складні пастки для пацюків своїми руками. Створення подібних конструкцій з підручного матеріалу дозволить заощадити кошти і домогтися бажаного результату. Своєчасне знищення щурів допоможе захистити будинок та майно від псування, убезпечити домочадців від зараження небезпечними захворюваннями, переносяться гризунами.


