Свічки запалювання автомобіля досить «капризні», і їх налаштування є справжньою проблемою для автолюбителів. Завдяки їх невисокою вартістю, багато власників автомобілів просто міняють свічки, якщо через них виникають проблеми з роботою двигуна. Водії, які вдаються до заміни деталей тільки у крайніх випадках, воліють їх відремонтувати при виникненні проблем. У випадку зі свічками запалювання мова йде не про ремонт, а про регулюванню, яка може знадобитися, якщо зазор між зовнішнім і внутрішнім електродом перевищить норму.
Зазор в свічці запалювання вимірюється в частках міліметрів, і мінімальні відхилення електродів один від одного позначаються на роботі двигуна. Якщо оперувати цифрами, то можна сказати, що при відхиленні електродів свічки запалювання один від одного на 0,2 міліметра, витрата бензину двигуном може зрости аж до 5%, і рівно настільки ж впаде його потужність.
Який зазор повинен бути на свічках запалювання
Кожен автомобіль продається з технічною документацією, в якій міститься вся необхідна для водія інформація. Такий параметр як «зазор на свічці запалювання» в «паспорті» автомобіля також прописується. Якщо двигун автомобіля не модифікувався, то відступати від встановленого виробником параметра зазору свічки запалювання не варто.
Коли потрібно регулювання зазору на свічці запалювання
Зазор на свічці запалювання виставляється на заводі-виробнику, і він не повинен хвилювати водія при стабільній роботі двигуна. Але у всіх автомобілів можуть виникати проблеми в камері згоряння, і нагару свічки багато з них можна діагностувати. Відповідно, при певних несправності зазор свічки запалювання може змінюватися, і його потрібно виставити рекомендованим чином. Навіть при стабільній роботі двигуна зазор на неякісних свічках запалювання може трохи змінитися, саме тому на них економити не рекомендується. Трохи змінився зазор позначиться на споживанні палива, і спрацює приказка «скупий платить двічі».
Власники автомобілів зі стажем рекомендують перевіряти зазор в свічках зажиганиях і порівнювати його з нормативами 2 рази за рік. Це обумовлено тим, що кожні півроку дбайливі водії проводять чистку свічки запалювання від нагару, і зручно під час цієї процедури також провести регулювання зазору.
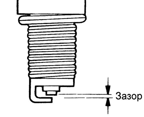
Як виміряти зазор свічки запалювання
Вимірювання зазору свічки запалювання – проста процедура, яка не вимагає особливих навичок. По суті, водієві потрібно заміряти відстань між двома електродами – зовнішнім і внутрішнім. Відстані між ними мінімальні, і провести вимірювання штангенциркулем або лінійкою не вийде.
Для вимірювання зазору свічки запалювання використовуються спеціальні інструменти. Всього їх можна розділити на 2 типи:
- Округлі інструменти для вимірювання зазору свічки запалювання мають два діаметра. На внутрішньому діаметрі шкала проградуйована, і вона показує товщину зовнішнього діаметра. Зовнішній діаметр встановлюється безпосередньо між електродами свічки, і монета обертається до тих пір, поки товщає зовнішній діаметр не застопориться. У цей момент слід за шкалою визначити, наскільки великою є відстань між електродами.

- Монетообразные інструменти з щупами по краях мають схожу конструкцію, але їх не вийде обертати – кожне вимірювання необхідно робити вручну, тобто заміряти одним дротяним щупом діаметр, якщо він не підійде, то притуляти інший, і так до тих пір, поки не буде знайдений щуп, який щільно вставляється між електродами.


Увага: При вимірі відстані між електродами будь-якими інструментами слід діяти максимально обережно. Найменше зусилля, прикладене до електрода, може призвести до його виходу з ладу.
Як відрегулювати зазор свічки запалювання
Якщо в результаті вимірів і порівнянь одержаних результатів з еталонними значеннями виявилося, що зазор між електродами менше або більше норми, регламентованої в документах до двигуна автомобіля, то його потрібно виправити.
При зменшенні і збільшенні зазору слід знати лише одне правило – не змінюйте зазор більше ніж на 0,5 мм за одне зусилля, інакше це призведе до поломки електрода. В іншому процедура регулювання зазору дуже проста, достатньо:

Нові свічки запалювання не потребують регулювання зазору, якщо мова йде про їх встановлення в стандартний двигун. При купівлі свічки для конкретної моделі автомобіля, вони продаються вже з відрегульованим по вимогам виробників автомобілів зазором.


